カワサキの本気!水素ガスを燃やす4ストロークエンジンの特許が公開

pairach-boriboonmee-Yq0JPlNqrIQ-unsplash

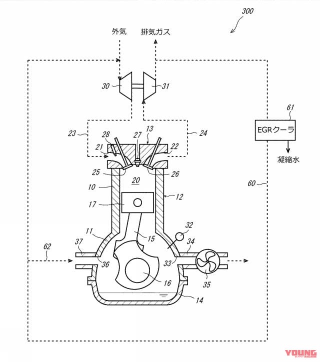
カワサキの特許出願情報が2021年9月2日に公開された。その内容は「4ストロークエンジン及びクランクケースの内部における着火防止方法」というものだが、これは内燃機関で“水素ガスを含む燃料”を使用することを想定したもの、。トヨタが水素カローラで魅せたイノベーションに続く、エンジン界の一大転機となるか!?

no title

no title

https://young-machine.com/2021/09/03/234427/

続きを読む
Source: バイク速報

スポンサーリンク

シェアする

  • このエントリーをはてなブックマークに追加

フォローする

スポンサーリンク